You are currently viewing Honda Patent Reveals New Fireblade Aero 66602

Honda Patent Reveals New Fireblade Aero 66602

Honda Patent Reveals New Fireblade Aero

Jan. 5 2024
News
By Ben Purvis

Share

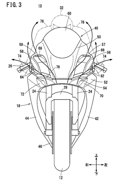
Honda patent drawing shows a new aero and front fairing that may find its way to the CBR1000RR-R Fireblade SP.

Honda has just given its CBR1000RR-R SP Fireblade a surprisingly substantial set of technical updates for the 2024 model year, but most of them are underneath a largely unchanged set of bodywork. Now a new patent application from the company shows that a more substantial set of visual revisions are under development with a focus on boosting downforce while simultaneously slashing drag.
One of the few external revisions to the 2024 CBR1000RR-R SP is the addition of new, MotoGP-inspired, hoop-style winglets on the nose, replacing the side-mounted, multilayered versions of its predecessor. These are a tried-and-tested solution to the growing demand for front-end downforce, proved in the heat of competition and offering a handy visual link to Honda’s MotoGP machines, but inevitably add drag when compared to a cleaner fairing design. The completely reworked shape seen in a newly published patent application aims for the best of both worlds, dropping the sticking-out wings and reducing the bike’s frontal area in pursuit of less drag while introducing an innovative nose design aimed at replicating the downforce of the missing winglets.

Honda’s patent describes removing winglets from the outside of the fairing and letting the front cowl do the aerodynamic work.

In essence, the idea is to move the winglets from their normal position on either side of the bike’s nose and push them closer together, routing air over surfaces inside the nose itself via an array of intakes and vents. Honda’s patent document explains: “…when inverted wings are provided at both ends of the front cowl, the downforce becomes large. However, the aerodynamic drag also becomes large.” It goes on to say: “In the present invention, the downforce can be increased by the first front cowl portion having an inverted wing shape. In addition, because wings are unnecessary, aerodynamic drag can be reduced. Thus, the motion performance (maximum speed and acceleration performance)… improves and as a result the fuel consumption performance can improve.”

Air flows through the front cowl and over a wing inside (marked 59).

As well as creating downforce and reducing the bike’s frontal area, the design is claimed to offer added aerodynamic benefits further back, directing airflow more cleanly over and around the rider. The patent says that having passed through the nose and over the internal wing sections, the “discharged air functions as an air curtain… As a result, the wind protection range for the occupant can be reduced, and the size…[of the bike] when viewed from the front can be reduced. Therefore, aerodynamic drag can be further reduced.”
Although all the drawings in the patent show the fairing fitted around a CBR1000RR-R SP, with the exhaust, frame, and swingarm shapes matching the company’s current range-topping superbike, it’s also clearly possible to use the same idea on virtually any supersport-style bike, and by applying for a patent on the idea Honda hopes to prevent rivals from being able to follow the same direction.

Browse our inventory of the current CBR1000RR

Contact us about when the 2024 CBR1000RR-R SP’s will be available.

Leave a Reply