Lidar-Equipped Gold Wing Patent Filed
News
By Cycle World

Honda’s Gold Wing is the likely recipient of the company’s latest proprietary radar technology.
Radar technology is rapidly becoming a must-have feature on modern touring bikes as brands from Europe and Japan vie to offer the most gizmo-packed machines on the market. But Honda’s Gold Wing—for decades the top of the touring tree—is lagging behind as the company works to develop its own systems rather than buying off-the-shelf equipment.
Current radar-equipped bikes on the market include offerings from BMW, Ducati, and KTM, all using Bosch-made equipment, as do their Japanese rivals from Kawasaki and Yamaha. Meanwhile Moto Guzzi’s radars are from parent firm Piaggio’s technology division, Piaggio Fast Forward, and Triumph uses rear-facing radars made by Continental for blind-spot detection. Bosch is currently leading the way, with advanced front and rear radars that, as demonstrated in the 2025 KTM 1390 Super Adventure S Evo, can work with the bike’s semiauto transmission to provide an adaptive cruise control system with stop/go functionality for heavy traffic. Since the Bosch equipment is essentially available to any bike manufacturer prepared to work with the company, the same technology is expected to spread rapidly, becoming a must-have for touring bikes in the near future.

Patents show that Honda’s work on this tech is clearly aimed at the flagship Gold Wing.
Honda tends to take a different approach to its rivals, preferring to develop its own systems where possible instead of buy-in to the same systems that are available to its competitors. It’s a philosophy that offers benefits in terms of allowing the company to more deeply integrate technology and occasionally to offer features that rival companies can’t match, but also one that’s inevitably more expensive and time-consuming in terms of R&D than simply picking up an existing set of tech from an OEM supplier like Bosch.
Honda’s work on radar equipment—with the Gold Wing expected to be the launch platform for the tech—has been ongoing for years. We reported on the company’s progress as long ago as 2020, when the first Bosch radar-equipped bikes from Ducati and BMW started to appear. But the company’s latest patent activity suggests it’s going far beyond mere radars and is now looking to incorporate a combination of radar, camera, and lidar (laser-based light detection and ranging) to build a 360-degree image of the bike’s immediate surroundings and the nearby traffic.

The Gold Wing tech includes a combination of radars, cameras, and lidar to build the complete picture of the bike’s surroundings.
The different technologies (laser, radar, and camera sensors) are complementary, working together to filter out false positives and ensuring that an obstacle missed by one is picked up by another. A camera doesn’t work well in the dark, for example, but can pick up information from lights and, specifically, colors. So it might be used to read road signs or react to traffic lights or the brake lights of other vehicles. Radar, by contrast, doesn’t need light and can detect obstacles through darkness or fog, but doesn’t have the resolution to create a detailed real-time image of the bike’s surroundings. Lidar can do that but isn’t as capable as radar over longer distances or in adverse weather conditions. By feeding information from all three types of sensor to the bike’s computer, it should be possible to eliminate anomalies and create a reliable, accurate, three-dimensional image of its surroundings.

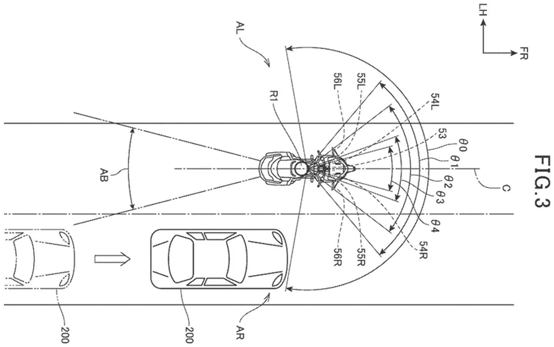
The system could use multiple warning lights on the dash, mirrors, and mirror stems to inform the rider of vehicles in the blind spot.
The specifics of Honda’s new patent application relate to the bike’s blind-spot monitoring system, and how warnings are delivered to the rider. It suggests using multiple warning lights on the dash, mirrors, and mirror stems to indicate when there’s a vehicle in your blind spot. The patent suggests that as we ride faster our field of view narrows and suggests the blind-spot-warning system should compensate, using different warning light positions depending on speed. At low speed, when your field of vision is widest, the outer warning lamps in the mirrors are used to warn of vehicles behind, but as speeds increase the lights on the mirror stems and eventually on the dashboard itself are used instead.
While the patent focuses on that specific feature, it indicates the presence of multiple radar, camera, and lidar sensors facing in all directions around the bike. That presents the potential for a host of rider-assist features from adaptive cruise control and automatic emergency braking to lane-assist functions, even to the extent of semiautonomous control of the vehicle. At the moment some of the tech—and particularly lidar—is still expensive, so the Gold Wing remains the most likely launch platform for Honda’s rider-assist equipment, but the rapid spread of driver-assist technology in cars is a clear indication to expect a similar rate of progress on two wheels in years to come.