Skip to content
Dealer logo
V1 Moto
10102 North Freeway Houston, TX 77037 281.447.3476
En
En
Es
  • Home
  • Showroom
    • Honda
    • Ducati
    • MV Agusta
    • Zero
    • Ohvale
    • Pre-Owned
    • Promotions
    • All Inventory
    • Manufacturer Showroom
  • Financing
    • Get Pre-Approved
    • Value Your Trade
  • Gear & Accessories
  • Departments
    • Service
    • Gear & Accessories
    • Parts
  • Dealership
    • About V1 Moto
    • V1 Moto Staff
    • Testimonials
    • Event Calendar
    • Employment
    • Schedule A Test Ride
    • Reserve Your Ride
    • Contact Us
  • World Of Ducati
  • V1P
    • V1P Exprerience
    • V1P Rewards
    • V1Paddock
  • Blog
  • Toggle website search
Menu Close
  • Home
  • Showroom
    • Honda
    • Ducati
    • MV Agusta
    • Zero
    • Ohvale
    • Pre-Owned
    • Promotions
    • All Inventory
    • Manufacturer Showroom
  • Financing
    • Get Pre-Approved
    • Value Your Trade
  • Gear & Accessories
  • Departments
    • Service
    • Gear & Accessories
    • Parts
  • Dealership
    • About V1 Moto
    • V1 Moto Staff
    • Testimonials
    • Event Calendar
    • Employment
    • Schedule A Test Ride
    • Reserve Your Ride
    • Contact Us
  • World Of Ducati
  • V1P
    • V1P Exprerience
    • V1P Rewards
    • V1Paddock
  • Blog
  • Toggle website search
Read more about the article Lidar Equipped Gold Wing Patent Filed 85052

Lidar Equipped Gold Wing Patent Filed 85052

  • Post author:Content Manager
  • Post published:February 5, 2026
  • Post category:Blog
  • Post comments:0 Comments

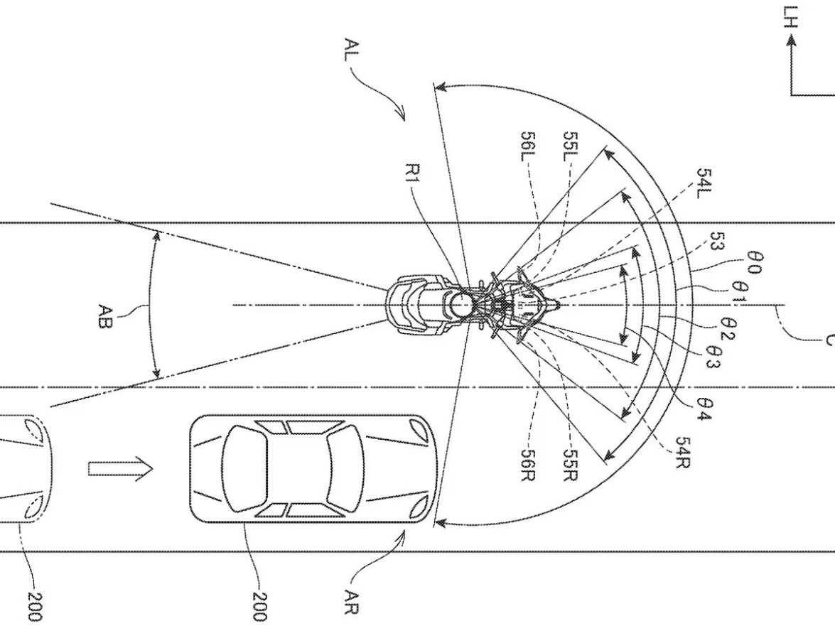
Lidar-Equipped Gold Wing Patent Filed Dec. 21 2024 News By Cycle World Gold Wing Honda Lidar Honda’s Gold Wing is the likely recipient of the company’s latest proprietary radar technology.…

Continue ReadingLidar Equipped Gold Wing Patent Filed 85052
Read more about the article How Good Are Rider Aids Ducati Panigale V4s Wet Weather Track Test 84942

How Good Are Rider Aids Ducati Panigale V4s Wet Weather Track Test 84942

  • Post author:Content Manager
  • Post published:February 5, 2026
  • Post category:Blog
  • Post comments:0 Comments

How Good Are Rider Aids? | Ducati Panigale V4S Wet Weather Track Test Dec. 16 2024 Review By Bike World DUCATI Panigale V4 Panigale V4 S Share Share on Facebook…

Continue ReadingHow Good Are Rider Aids Ducati Panigale V4s Wet Weather Track Test 84942
Read more about the article Priced To Move The Zero Xb And Xe E Motos 84941

Priced To Move The Zero Xb And Xe E Motos 84941

  • Post author:Content Manager
  • Post published:February 5, 2026
  • Post category:Blog
  • Post comments:0 Comments

Priced to MOVE! The Zero XB and XE e-Motos Dec. 16 2024 Announcements By EV Rider ZERO XB XE Share Share on Facebook Share on Twitter Email to a Friend…

Continue ReadingPriced To Move The Zero Xb And Xe E Motos 84941
Read more about the article The Perfect Dirt Bike 84939

The Perfect Dirt Bike 84939

  • Post author:Content Manager
  • Post published:February 5, 2026
  • Post category:Blog
  • Post comments:0 Comments

The Perfect Dirt Bike Dec. 16 2024 Review By Cycle World Honda CRF450X Share Share on Facebook Share on Twitter Email to a Friend Honda’s CRF450X off-road motorcycle is the…

Continue ReadingThe Perfect Dirt Bike 84939
Read more about the article Top 5 Reasons To Ride Moto On The 2024 Honda Crf450rx 84727

Top 5 Reasons To Ride Moto On The 2024 Honda Crf450rx 84727

  • Post author:Content Manager
  • Post published:February 5, 2026
  • Post category:Blog
  • Post comments:0 Comments

Top 5 Reasons to Ride Moto on the 2024 Honda CRF450RX Dec. 8 2024 Lifestyle By Adam Waheed Honda CRF450RX Share Share on Facebook Share on Twitter Email to a…

Continue ReadingTop 5 Reasons To Ride Moto On The 2024 Honda Crf450rx 84727
Read more about the article Top 11 Things New 2025 Ducati Multistrada V2 84726

Top 11 Things New 2025 Ducati Multistrada V2 84726

  • Post author:Content Manager
  • Post published:February 5, 2026
  • Post category:Blog
  • Post comments:0 Comments

Top 11 Things: New 2025 Ducati Multistrada V2 Dec. 8 2024 News By MotoBob DUCATI Multistrada V2 Multistrada V2 S Share Share on Facebook Share on Twitter Email to a…

Continue ReadingTop 11 Things New 2025 Ducati Multistrada V2 84726
Read more about the article Hondas Huge Leap Toward Viable Electric Motorcycles 84725

Hondas Huge Leap Toward Viable Electric Motorcycles 84725

  • Post author:Content Manager
  • Post published:February 5, 2026
  • Post category:Blog
  • Post comments:0 Comments

Honda's Huge Leap Toward Viable Electric Motorcycles Dec. 8 2024 News By Ben Purvis Honda Electric Share Share on Facebook Share on Twitter Email to a Friend Major OEMs have…

Continue ReadingHondas Huge Leap Toward Viable Electric Motorcycles 84725
Read more about the article More Enjoyment Hondas Updated 2025 Nt1100 84582

More Enjoyment Hondas Updated 2025 Nt1100 84582

  • Post author:Content Manager
  • Post published:February 5, 2026
  • Post category:Blog
  • Post comments:0 Comments

More Enjoyment! Honda's updated 2025 NT1100 Dec. 2 2024 News By Chris Newbigging Honda NT1100 Share Share on Facebook Share on Twitter Email to a Friend Chris Newbigging of MCN…

Continue ReadingMore Enjoyment Hondas Updated 2025 Nt1100 84582
Read more about the article 2025 Ducati Streetfighter V4s First Look 84581

2025 Ducati Streetfighter V4s First Look 84581

  • Post author:Content Manager
  • Post published:February 5, 2026
  • Post category:Blog
  • Post comments:0 Comments

2025 Ducati Streetfighter V4S | FIRST LOOK Dec. 2 2024 News By 44Teeth DUCATI Streetfighter V4 Streetfighter V4 S Share Share on Facebook Share on Twitter Email to a Friend…

Continue Reading2025 Ducati Streetfighter V4s First Look 84581
Read more about the article The Best New Updated Honda Motorcycles For 2025 84372

The Best New Updated Honda Motorcycles For 2025 84372

  • Post author:Content Manager
  • Post published:February 5, 2026
  • Post category:Blog
  • Post comments:0 Comments

The Best New & Updated Honda Motorcycles For 2025! Nov. 23 2024 News By MotoBob Honda Share Share on Facebook Share on Twitter Email to a Friend Motobob comes to…

Continue ReadingThe Best New Updated Honda Motorcycles For 2025 84372
  • Go to the previous page
  • 1
  • …
  • 13
  • 14
  • 15
  • 16
  • 17
  • 18
  • 19
  • …
  • 85
  • Go to the next page
V1 MOTO Logo

Quick Links

  • Shop Ducati
  • Shop MV Agusta
  • Shop Honda
  • Featured inventory
  • Shop Pre-Owned

V1 MOTO

  • Privacy Policy
  • Terms & Conditions
  • Sitemap
Copyright - WordPress Theme by OceanWP

Copyright © 2026. All Rights Reserved | Privacy Policy | Terms & Conditions